目前装配式建筑相关政策调整和装配式建筑发展现状,让现在的管理方式暴露出许多问题:
1. 日常大量的分散化、纸质化管理急需信息化、系统化、电子化的手段解决
2. 管理中部门间沟通时间较长、效率较低急需采用有效手段进行解决。
3. 统计数据实时性、可靠性、便捷性亟待解决。
4. 缺乏统一的标准规范,多部门间信息难以共享。
针对装配式建筑工程项目全周期信息进行管理,数据信息来源主要包括信息填报、信息导入、数据交换等方式,从多源获取装配式建筑工程项目信息,并对数据资源进行应用。装配式建筑项目管理是为市区两级管理人员、装配式建筑专家委员会专家和企业3类平台用户服务,实现专家管理、项目评审、财政奖励等业务办理以及工程沙盘、统计分析、项目管理、综合查询等基本功能。
1) 移动端:使用装配式建筑工程项目评审管理的移动端,方便快捷的对装配式建筑工程项目基本信息进行采集、查询、统计、分析。
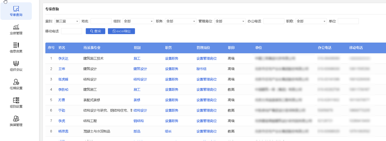
2) 专家管理:对专家申请、会议安排、业绩管理、专家信息变更、组织会议、专家查询、换届管理等进行信息化的综合管理。
3) 装配式项目总体情况:可以简单明了的看到从实施标准、投资性质、建筑类型、结构类型等维度,统计装配式工程的开工情况。
